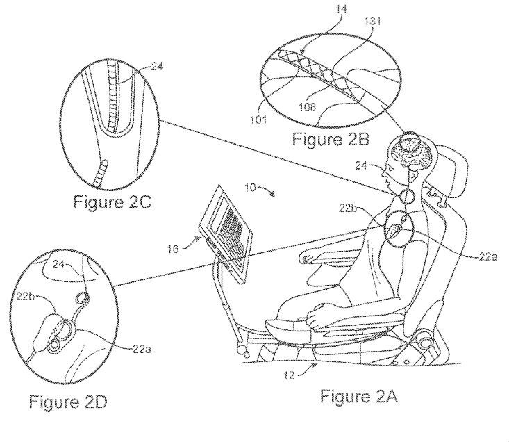
2023年5月4日,南开大学宣布全球首例非人灵长类动物介入式脑机接口试验在北京取得成功,试验在猴脑内实现了介入式脑机接口脑控机械臂,对推动脑科学领域研究具有重要意义,标志着我国脑机接口技术跻身国际领先行列。

介入式脑机接口试验示意图(图片来源:南开科研团队)
脑机接口(Brain-Computer Interaction,BCI)是一种直接利用脑电信号实现人脑与外部环境通讯和控制的技术,这一概念最早来源于1973年美国加州大学维达尔教授的一篇论文,他认为BCI是“大脑与外界直接进行信息通讯的方式”,并搭建了世界上第一个非植入式脑机接口系统。
脑机接口实现可大体分为四步:脑电采集--信号获取及处理--信号输出(执行)--反馈。
目前,脑机接口在医疗、军事、神经娱乐、认知训练、神经生物经济学等方面都有所应用。在医疗领域,脑机接口技术可以将脑电信号转换为控制指令,从而帮助运动功能障碍患者与外部设备交互,也可以用于缓解帕金森症状、恢复视觉、植入人工耳蜗恢复听力等。

脑机接口实现方式(图片来源:中金公司)
脑机接口主要有三种连接方式,包括侵入式脑机接口、非侵入式脑机接口和介入式脑机接口。
侵入式脑机接口,将电极植入大脑皮层功能区附近,直接接触到大脑皮层,这种方式所获取的脑电信号最准确,但对机体伤害较大;
非侵入式脑机接口仅通过头皮采集脑电信号,信号纯度低;
介入式脑机接口,通过微创手术实现脑机连接,信号纯度介于其它两种方式之间。
目前,对于三种不同的脑机接口连接方式均有企业在研究,下面针对2家龙头企业的脑机接口技术进行介绍,尤其从专利角度揭示两家公司的技术布局方向:
1.Neuralink
提到脑机接口,不得不提到一位重要人物埃隆·马斯克(Elon Musk),他创立了特斯拉、Space X、SolarCity、The Boring Company等公司,2016年创立Neuralink,从事侵入式脑机接口研发。
2022年11月底,埃隆·马斯克在他的脑机接口公司Neuralink的发布会上,向公众展示了猴子用意念打字的场景,表明了Neuralink的脑机接口技术在动物身上的可行性,也为未来在人类身上进行类似的实验提供了信心,但是由于该实验需要在动物头骨上钻孔,然后安装侵入性脑机接口设备,手术风险大,增加了动物的死亡率。
2023年5月26日,有外媒消息,Neuralink已获得美国食品药品监督管理局(FDA)的批准,将启动首次脑植入物人体临床研究。
Neuralink公司一直在积极布局脑机接口技术相关专利,为以后的市场应用打下良好的基础,下表列举了该公司申请的部分相关专利:

从上述专利可以看出,Neuralink在脑机接口技术领域的相关专利主要包括植入装置以及信号解释方法两个方向:
植入装置方面,专利US20210007602A1涉及的技术方案在受试者头骨上钻孔,将植入物放入孔中,植入物位于不同的脑叶或大脑区域。
植入物主要包括传感器,每个传感器都从嵌入了成百上千个金属电极的微型聚合物电缆接收信号,将金属电极嵌入生物相容带状聚合物中,并使用柔性导线连接电极,可以减少局部组织损伤,方便受试者佩戴和控制,同时由于传感器设置在不同的脑叶或大脑区域,以及金属电极的数量较多,能够更好地接收脑部信号。

US20210007602A1专利附图
为了解决电极和大脑组织的相容性问题,WO2023038829A1提出将经过基因修饰神经元细胞沉积在大脑皮层,形成额外的皮质层,与生物自身大脑皮层的脑波特征同步,将光或电信号引导至附加皮质层中的细胞,使得细胞将光或电信号转化为神经信号。
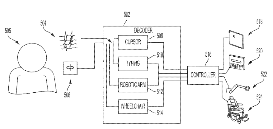
信号解释方法方面,US11630516B将神经信号接收到BMI解码器中,基于传感器确定对象的活动变化,将神经信号从第一模型转换到第二模型,使用BMI解码器中的第二模型将神经信号转换成命令,并且将命令发送到控制器,控制器执行相关命令,如控制器可以使用 BMI 解码器基于神经信号确定的光标移动和速度来移动光标。

US11630516B专利附图
此外Neuralink还申请了关于利用机器人进行脑接口手术的设备以及方法,如专利US11291508B2、US20210007808A1。
该公司从2012年研究采用微创手术的方式将脑机接口从颈静脉植入大脑运动皮层的技术(即介入式脑机接口连接方式),不同于Neuralink的开颅手术,该方法安全性更高。该公司产品名为Stentrode™,由一种称为镍钛诺的柔性合金制成,2020年,FDA授予该产品突破性设备称号。
2021年,Synchron成为第一家获得FDA IDE进行永久植入式BCI试验的公司。Synchron目前在神经恢复学、神经调节和神经诊断学三大领域进行了布局。在介入式脑机接口方面布局了相关专利,主要包括介入装置、信号检测、应用等,下表列举了该公司申请的部分相关专利:

介入装置方面,现有技术主要通过侵入式或非侵入式脑机接口技术,利用电极在颅内或颅外来获得神经元活动信号,而专利US20210378595A1在动物血管内放入接口装置,感受或刺激附近的神经组织活动。接口装置包括用于将血管内装置保持在血管内固定位置的保持器(惰性物质如铂或镍钛诺支架),这类支架可在体内使用数年,减少植入次数,效果稳定。
下图左为在人的大脑动脉的第二分支中使用支架安装无线接口装置的截面图,图右为血管内装置作为人类假肢的脑机接口示意图。


US20210378595A1专利附图
信号检测方法方面,专利WO2021202915A1通过植入在受试者脑内的神经接口来检测神经相关信号的变化,从而使输入命令更加准确,这样可以排除呈现假阳性的神经相关信号的可能性。

WO2021202915A1专利附图
相关的,还提出了一种在脑内和/或脑外的血管中植入电极的系统和方法US20200016396A1:通过综合对比患者脑部特定区域的实时检测图像和结构图像,更准确、高效地确定植入装置的目标位置。

US20200016396A1 专利附图
而Synchron采用介入式脑机接口技术,除布局介入装置和信号检测方法外,对治疗癫痫等疾病的应用技术也进行了相关专利布局,可以看出,两家公司均较为重视技术研发的专利保护。
随着国外公司在脑机接口技术方面的研究不断取得新进展,我国也越来越重视该项技术的研究,如文章开头所述,南开大学成功将介入式脑电传感器通过猴颈静脉送达猴运动皮层脑区。
这一试验的成功推进了我国介入式脑机接口从研究阶段到临床试验的步伐,预示了其在医疗领域的应用前景。
其次,2023年2月,中国脑机接口产业联盟成立,将积极发挥政产学研用桥梁纽带作用,为我国脑机接口、脑机交互、脑机智能领域规划布局提供支撑建议,这对于医疗器械等相关企业来说,无疑是一个好消息,对于产品研发、专利布局也有着积极的推动作用。
虽然目前脑机接口技术还不够完善,也引发了一些争议,但其在某些神经疾病方面的治疗功效不容小觑,我们应以辩证的眼光来看待该项技术,各企业可优先进行相关专利布局,以便在技术成熟之时能迅速占领市场。
参考文献
1.科普:不断进步的脑机接口技术
https://baijiahao.baidu.com/s?id=1765192008250389521&wfr=spider&for=pc
2.大成研究 | 脑机接口
http://finance.sina.com.cn/money/fund/jjzl/2020-09-18/doc-iivhvpwy7480911.shtml
品源知识产权管理咨询有限公司 张雨







首页
电话咨询
联系方式